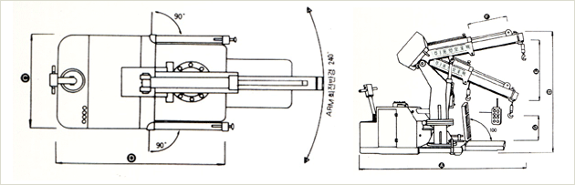
Battery Crane Cer는 기존의 천정 Crane 및 운반지게차의 주요기능을 접목시켜 다목적 기능을 발휘할 수 있습니다.
Body가 좌우로 120 ˚ 까지 회전할수 있고 훅의 로프도 자유로이 상하로 움직이며 Am 역시 유압에 의해 상 · 하작용 및 2단
 전 · 후진 기능을 갖추고 있어 어떤 위치에서도 제품을 자유로이 이동 및 적재할 수 있습니다.
 특징은 주문에 의해 설계 · 제작함으로 공장내 천정 Crane 및 지게차 사용이 불가능한 지역에서도 사용이 자유로우며 용량은
 300㎏ 에서부터 1500㎏까지 운반할 수 있는 구조로 되어 있습니다.
구분 단위
MODEL
DIBC-03
DIBC-05
DIBC-10
적재능력 300 500 1000
전장 (A)
2300
2500
2750
전고 (B)
2100
2100
2100
전폭 (C)
900
900
900
MIN전장 (D)
1300
1500
1750
전고 (E) STROKE
1000
1000
1000
천장(F) STROKE
1000
1000
1000
ARM최고 높이 (G)
300
300
300
장비운전 속도
㎞/h
무부하시 4.5             부하시 2.5
전원
24V 320 A/H, AC110, 220V (밧데리사용시간 5hr)
자중
700
900
1400
*상기모델외 사용용도에 따라주문에 위하여 특수 설계 제작되고 있습니다.